ГЛАВНАЯО НАСКОНТАКТЫ
CATHILD INDUSTRIE - УМЕНИЕ СУШИТЬ
СУШИЛЬНЫЕ КАМЕРЫСИСТЕМЫ УПРАВЛЕНИЯМОДУЛИ И КОМПОНЕНТЫНАШИ КЛИЕНТЫОФОРМИТЬ ЗАЯВКУ



Задать вопрос Специалистам Cathild



Rambler's Top100

О СУШКЕ
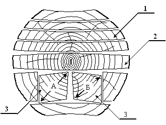
Усушка

Когда древесина теряет содержащуюся в ней воду, в момент предела насыщения, происходит процесс усушки. Усушка проходит по трём основным направлениям.
В соответствии с этим различают усушку тангенциальную, радиальную и осевую.

Деформации древесины вследствие ее усадки во время сушки.

1 : распил на ложную четверть, максимальная тангенциальная усадка на концах, доска выгнута, как черепица.
2 : распил центральный, толщина доски в центре больше, чем на концах.
3 : квадратное поперечное сечение трансформируется в параллелограмм, усадка происходит сильнее по линии Б (тангенциальная), чем по линии A (радиальная).

Главная : О Нас : Сушильные Камеры : Системы Управления : Модули и Компоненты : Наши Клиенты : Оформить Заявку : Контакты
УП „ВАФОР” 220 018 Минск, ул. Шаранговича, д. 19, к. 523 тел (375) (0)17 / 211 58 32 contact@cathild.ru © Design by Invacont 2003
return_links(); ?>